- x64-bit nxp driver
- x64-bit nxp rd70x firmware driver
- x64-bit nxp nfc driver driver
- x64-bit nxp near field proximity driver driver
- x64-bit nxp nearfieldproximity driver driver
- x64-bit nxp proximitybased cardreader driver driver
- x64-bit nxp near field proximity provider driver driver
- x64-bit nxp smartcard reader driver driver
- x64-bit nxp smartcard driver driver
- x64-bit nxp idprotect driver driver
- x64-bit nxp proximitybased card reader driver driver
- x64-bit nxp athena idprotect minidriver 7 1 6 3 for windows 10 anniversary update 64 bit free download driver
- x64-bit nxp athena idprotect minidriver 7 1 6 3 for windows 10 anniversary update 64 bit driver
- x64-bit nxp proximitybased smartcard reader driver 1 0 4 42 for windows 10 anniversary update 64 bit free driver
- x64-bit nxp athena idprotect minidriver 7 1 6 3 for windows 10 64 bit driver
- x64-bit nxp athena idprotect minidriver 7 1 6 3 for windows 10 fall creators update 64 bit free download driver
- x64-bit nxp athena idprotect minidriver 7 1 6 3 for windows 10 fall creators update 64 bit driver
- x64-bit nxp athena smartcard driver 7 1 3 3 for windows 10 fall creators update 64 bit free download driver
- x64-bit nxp athena idprotect minidriver 7 1 6 3 for windows 10 v1803 64 bit driver
- x64-bit nxp athena idprotect minidriver 7 1 6 3 for windows 10 v1803 driver

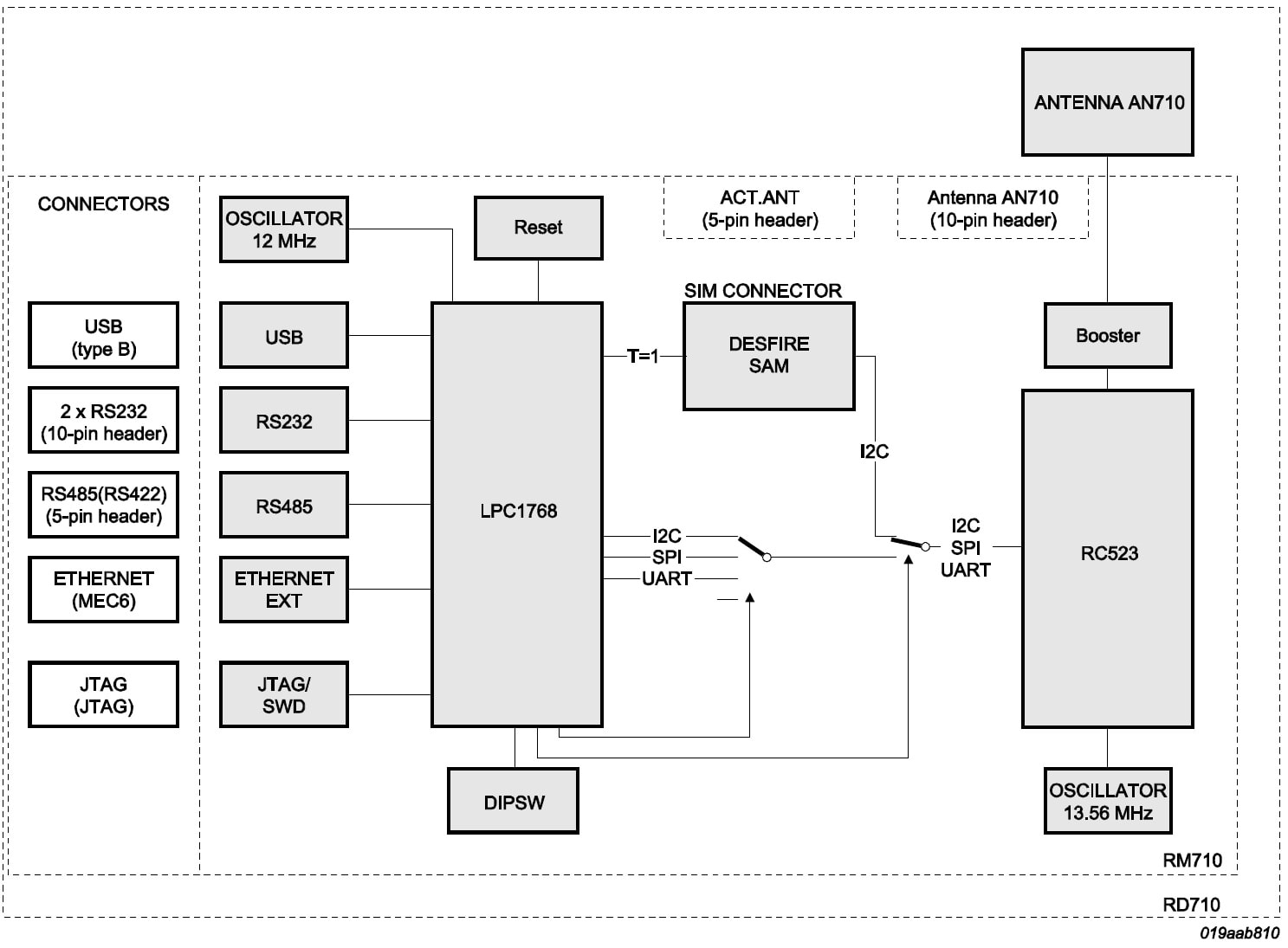
Nxp Card Reader Driver Downloads



Download our latest development and embedded software solutions. Development Boards. Expedite time-to-market with our extensive lineup of development kits.

- There is a driver update avalable via WIndows Device Manager for the NXP's ProximityBased SmartCard Reader which enables rfid detecting/reading. This update is NOT available via HP Support Assisant. I am still unable to write a login tag, becasue the tags i have do not have enough memory.
- Nxp 64-bit driver in Other x64 drivers - X 64-bit Download - x64-bit download - freeware, shareware and software downloads. Nxp proximitybased card reader driver.
Nxp Card Reader
Install NXP Semiconductors Inc. Powered by nlite driver download for windows 10. NXP's ProximityBased SmartCard Reader driver for Windows 7 x64, or download DriverPack Solution software for automatic driver installation and update. Download drivers for Philips NXP Reader card readers (Windows 10 x86), or install DriverPack Solution software for automatic driver download and update. Simple usb devices driver download for windows 10 pro.
